¿Un celular que se convierte en un reloj inteligente? Una patente de Motorola hace creer que podría estar más cerca de lo que pensamos

Motorola Celular Smartwatch 3
Sin comentarios Facebook Twitter Flipboard E-mail
jimmy-pepinosa

Jimmy Pepinosa

Editor

Motorola parece dispuesta a replantear lo que entendemos por dispositivo móvil. Según se reveló, una nueva patente registrada ante la Oficina de Patentes y Marcas de Estados Unidos (USPTO) muestra un concepto que podría transformar la relación entre los celulares y los relojes inteligentes: un smartphone con pantalla flexible capaz de ajustarse a la muñeca como si fuera un reloj.

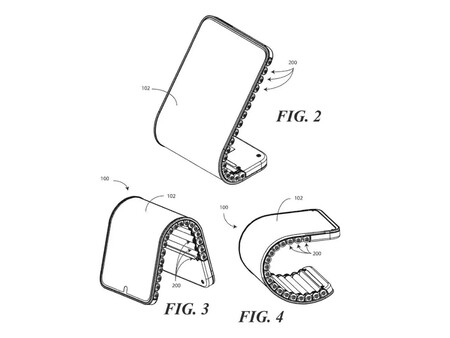
El documento, recientemente publicado, no confirma planes de producción, pero sí revela el rumbo experimental que la marca sigue explorando. Los esquemas muestran un panel flexible y extensible que puede envolverse alrededor de la muñeca y desplegarse para ofrecer una experiencia de uso similar a la de un teléfono compacto. 

En otras palabras, un dispositivo capaz de moverse entre dos mundos: la inmediatez de un smartwatch y la funcionalidad completa de un smartphone Android.

Tecnología flexible para una nueva generación

Motorola Celular Smartwatch 1 (Xpertpick)

De acuerdo con la patente, Motorola propone un diseño que integra una pantalla adaptable montada sobre una estructura articulada, con sensores capaces de reconocer la forma y los gestos del usuario en tres dimensiones. 

Esto permitiría que el dispositivo cambie de interfaz y de modo de uso dependiendo de su posición: un formato envolvente al llevarlo en la muñeca y otro rectangular al extenderlo por completo.

La batería, distribuida entre los eslabones del mecanismo, busca equilibrar el peso y mantener la flexibilidad sin comprometer la autonomía. El sistema también incluiría sensores para detectar orientación, geometría y movimientos, lo que permitiría ejecutar acciones rápidas, como encender la linterna o activar un modo de notificaciones, solo con gestos.

Aunque por ahora el proyecto se mantiene en fase conceptual, este diseño representa un paso más en la búsqueda de pantallas verdaderamente versátiles, capaces de adaptarse al cuerpo y al entorno del usuario.

Una idea que Motorola ya había insinuado

Motorola Celular Smartwatch 2 (Xpertpick)

La idea no surge de la nada. Durante el Lenovo Tech World 2023, Motorola mostró un prototipo con pantalla pOLED FHD+ de 6,9 pulgadas que podía doblarse para adoptar distintas posiciones. 

En modo horizontal ofrecía una experiencia Android completa, mientras que en vertical se convertía en un dispositivo compacto con pantalla de 4,6 pulgadas. Incluso podía envolverse alrededor de la muñeca, mostrando una interfaz similar a la de los relojes de la línea Razr+.

Este concepto comparte muchas similitudes con la patente recién publicada, lo que sugiere que la compañía lleva tiempo experimentando con dispositivos transformables, más allá de los modelos plegables tradicionales.

Y aunque los documentos de patente no siempre se traducen en productos finales, el concepto de Motorola insinúa una posible evolución natural de los wearables: dispositivos híbridos que combinen la potencia de un teléfono con la portabilidad y conveniencia de un reloj.

Inicio